产品中心
Products
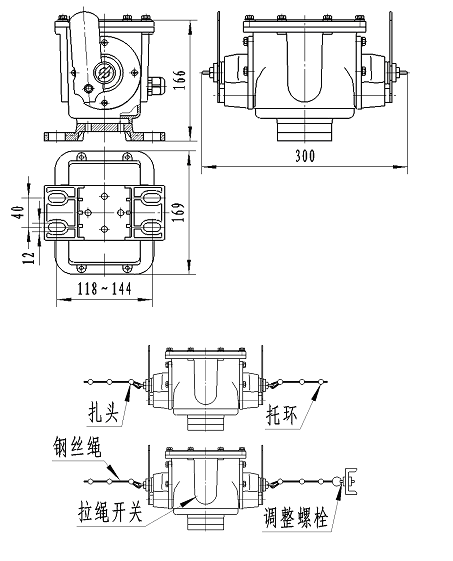
【双向拉绳开关】
双向拉绳开关HFKLT2-E系列
当胶带运输现场发生紧急事故时,可拉动系在拉绳开关吊耳上的钢丝绳,使机内的滑块与开关的作用,发出停机信号。同时红色手柄弹起,与开关成90°。示意监控人员准确判断。
本机型带自锁,在故障排除后按下限位杆方能复位。
本开关采用铝合金精密压铸壳体,强度高、重量轻;外壳防护等级达IP65,可以在恶劣环境中长期工作;机内采用优质行程开关,触点容量大,动作灵敏、可靠;
